ФОРУМ ПО ЭЛЕКТРОНИКЕ



Архив - только для чтения
Усилители микросхемные
 Чт, 17.11.2011, 01:33 | Сообщение # 211        

Kulibin76

Пользователи

 Активность: 12   

Или может Транзисторы поставить как на (рис 2). Я только не знаю как отличить на рисунке где (коллектор, база, эмитэр)

Прикрепления: 9110396.jpg (136.2 Kb)


поправил Kulibin76 - Чт, 17.11.2011, 01:33
 Чт, 17.11.2011, 08:33 | Сообщение # 212        

феска

Друзья

 Активность: 3627   

Kulibin76, эмитер это стрелочка, база это обший по центру колектор тот что остался biggrin biggrin
 Пт, 18.11.2011, 01:15 | Сообщение # 213        

Kulibin76

Пользователи

 Активность: 12   

феска,Спасибо за информашку!,Ещё один моменп,как проверить транзистор прибором чтобы понять где (Эм.Ба.Ко.)-?
 Пт, 18.11.2011, 09:23 | Сообщение # 214        

k174un9

Пользователи

 Активность: 71   

Привет Всем. Феска, ты там что то писал по поводу старой техники. У меня есть два видика: Самсунг-Электроника ВМ 1230 и spectra_V_900_C.
Что с ними можно сделать и есть ли здесь на них схемы?
Я их ищу время от времени уже третий год, нет нигде. В платном варианте есть, но дорого и ХЗ, обманут...
 Пт, 18.11.2011, 09:26 | Сообщение # 215        

феска

Друзья

 Активность: 3627   

Kulibin76, самое простое это скачать на транзистор даташит (мануал), Обычный биполярный транзистор представляет собой два диода, включенных навстречу один другому. Зная, как проверяются диоды, несложно проверить и такой транзистор. Стоит учесть, что транзисторы бывают разных типов, p-n-p когда их условные диоды соединены катодами, и n-p-n когда они соединяются анодами. Для измерения прямого сопротивления транзисторных p-n-p переходов, минус мультиметра подключается к базе, а плюс поочередно к коллектору и эмиттеру. При измерении обратного сопротивления меняем полярность. Для проверки транзисторов n-p-n типа делаем все наоборот. Если еще короче, то переходы база-коллектор и база-эмиттер в одну сторону должны прозваниваться, в другую нет biggrin biggrin
 Сб, 19.11.2011, 02:43 | Сообщение # 216        

Kulibin76

Пользователи

 Активность: 12   

феска,(Щиро дякую!)Огромное спасибо!что дал хоть какое то придставление о транзисторе wink СПС!
 Сб, 24.12.2011, 15:38 | Сообщение # 217        

Daniil69

Пользователи

 Активность: 1   

Здраствуйте! Прошу извенение если не туда пишу. Дело втом что я довно хотел себе хороший усилитель, но както не ришался его зделать. И вот позовчера, Ввел в гугол вопрос и нашол что искал. Мне так казалось! Два дня я читал, разбирал разные схемы искал с чего можно зделать хороший усельтель. Но мои труды были напрасны. Все уселители выполнены на микросхемах которых у меня и в помине небыло. Тогда я ношол 2 старых магнетолы и разобрал. И ношол что так долго искал. Но вот другой вопрос у меня есть 2 микросхемы TDA 7350, одна TDA 7384 и еще несколько в которых я не уверин TDA 1596,7318D,1072A. что можно собрать с этих микросхем? Если можно подскажите что не будь. Зарание огромно спасибо.
 Сб, 24.12.2011, 19:14 | Сообщение # 218        

феска

Друзья

 Активность: 3627   

Daniil69, самый простой способ это ввестиназвание микросхемы в верхнем правом углу даташиь скачать его и там будет стандартная схема подключения biggrin biggrin и характеристики, просто задавая вопрос вы не уточнили что в итоге вы хотите получить
 Вт, 03.01.2012, 22:49 | Сообщение # 219        

Evrorub

Пользователи

 Активность: 39   

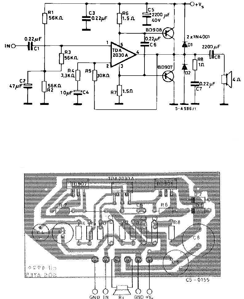
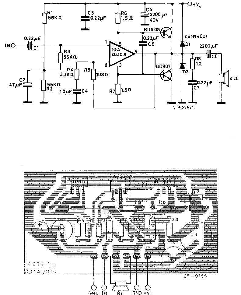
Подскажите, пожалуйста, какие динамики из советских подойдут для саба с этим усилком.
Заранее спасибо!
Прикрепления: 9567334.jpg (136.2 Kb)
 Вт, 03.01.2012, 22:57 | Сообщение # 220        

MAESTRO

^

 Активность: 5564   

Любые, на мощность от 50 ватт и выше. например 50ГДН-3, 35ГДН-1-4, 75ГДН-1-4, 50ГДН-1, 100ГДН-3 и другие.
Поиск:

Внимание! Форум переехал на Tehnodium.ru




© Форум по электронике Мобильная версия