ФОРУМ ПО ЭЛЕКТРОНИКЕ



Архив - только для чтения
Усилители микросхемные
 Пн, 25.07.2011, 01:24 | Сообщение # 171        

евгений7345

Пользователи

 Активность: 3   

maestro
вопрос такой
как в схеме простого усилителя
сделать так чтоб работало от линейного входа?
будет ли достаточная громкость при динамике на 5 ватт?
и чистый ли от него звук вообще?
также на шел микросхему
RX-2 40709277
выпаял из старой р\у игрушки
подойдет ли?

в электронике пока профан
так что помидорами прошу не кидаться


поправил евгений7345 - Пн, 25.07.2011, 11:09
 Пн, 25.07.2011, 15:23 | Сообщение # 172        

MAESTRO

^

 Активность: 5564   

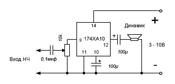
RX-2 это не усилитель, а простой приёмник ВЧ сигнала. Чтоб взять сигнал с линейного входа, надо через конденсатор 0,1-1мкФ подать его на движок регулятора громкости - резистор 10-20к, подключенный между входом микросхемы и минусом. Для 5-ти ватт хватит звука.
 Пн, 25.07.2011, 15:43 | Сообщение # 173        

евгений7345

Пользователи

 Активность: 3   

я понял так



если не так то поправьте
и если к этому всему подключать лин. вход куда какой провод
паять
вход будет в плеер 3.5 мм
Прикрепления: 2100418.jpg (27.1 Kb)
 Пн, 25.07.2011, 19:59 | Сообщение # 174        

MAESTRO

^

 Активность: 5564   

Вот схема:

Прикрепления: 1835305.jpg (19.1 Kb)
 Пн, 25.07.2011, 20:42 | Сообщение # 175        

евгений7345

Пользователи

 Активность: 3   

Большое спасибо
 Пн, 01.08.2011, 21:55 | Сообщение # 176        

Evrorub

Пользователи

 Активность: 39   

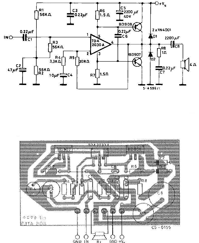
MAESTRO, а будет ли лучше звук,если сначала сигнал подать на фильтр нч, а с фильтра- на усилитель с тда 2030 с двумя транзисторами кт818 и кт819 ?
Прикрепления: 1858347.jpg (28.3 Kb) · 2808671.jpg (136.2 Kb)
 Пн, 01.08.2011, 22:43 | Сообщение # 177        

MAESTRO

^

 Активность: 5564   

Так это и есть связка классического сабвуфера (ФНЧ + УМЗЧ) все частоты выше 50Гц будут срезаться.
 Сб, 06.08.2011, 21:08 | Сообщение # 178        

Змей

Пользователи

 Активность: 1   

подскажите схемы пассивного фильтра на входе микросхемы есть две tda1516 одну хочу мостом на нч пустить а вторую 2 сч

Добавлено (06.08.2011, 21:08)
---------------------------------------------
добавлю:фильтры нужны без операционников (резисторы+емкости)

 Вс, 07.08.2011, 19:34 | Сообщение # 179        

MAESTRO

^

 Активность: 5564   

Вот испытывал в паре с тда1521:

Прикрепления: 2557414.gif (3.4 Kb)
 Чт, 18.08.2011, 16:21 | Сообщение # 180        

jenek34

Пользователи

 Активность: 42   

MAESTRO, Вот решил собрать усилитель на к174ун9, захотелось все почеловечески сделать, но возникли затруднения с печатной платой, сам нарисовать не могу никак, и в нете тож ниче не нашел. Вот прошу помощи))))
Поиск:

Внимание! Форум переехал на Tehnodium.ru




© Форум по электронике Мобильная версия