ФОРУМ ПО ЭЛЕКТРОНИКЕ



  • Страница 1 из 3
  • 1
  • 2
  • 3
  • »
Архив - только для чтения
Выбор простой схемы БП
 Вт, 09.10.2012, 00:00 | Сообщение # 1        

Вячеславчик_96

Пользователи

 Активность: 20   

Помогите выбрать более - менее простую схему БП с регулировкой напряжения от 1,2 - 2В (если еще ниже - ничего страшного) до 30В и выдерживающую ток нагрузки 2-3А. Желательно, чтобы стабилизатор БП был на транзисторах (не ИМС).
P.S. Нашел схемку (ниже), скажите, реально ли ее вообще доработать, усилить под ток 2-3А? Если возможно, то как? Чую, что надо менять транзисторы на более мощные, ставить последовательно еще 1 - 2 стабилитрона. Если не прав, поправьте! Заранее спасибо!!! smile

Прикрепления: 9381290.jpg (51.0 Kb)
 Вт, 09.10.2012, 07:49 | Сообщение # 2        

Evgeniy811

Друзья

 Активность: 1199   

Quote (Вячеславчик_96)
Чую, что надо менять транзисторы на более мощные, ставить последовательно еще 1 - 2 стабилитрона

насчет транзисторов- ты прав, а стабилитрон можно оставить.
Изменение стабилитрона нужно лишь в случае если ты захочешь изменить диапазон регулировки.
 Вт, 09.10.2012, 08:52 | Сообщение # 3        

MAESTRO

^

 Активность: 5564   

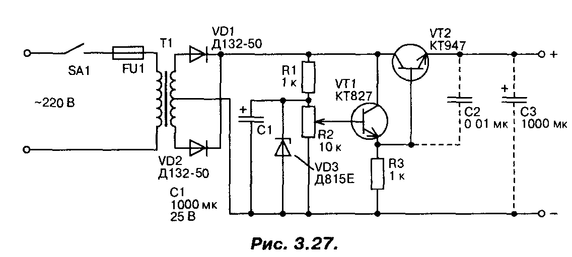
Нормальная схема- смело собирай. Только диоды в мосте тоже замени на помощнее, например КД202, Д242. Транзистор кт818.

Прикрепления: 7123999.png (7.7 Kb)
 Вт, 09.10.2012, 13:55 | Сообщение # 4        

Вячеславчик_96

Пользователи

 Активность: 20   

MAESTRO! Мне и нужно, чтобы верхний предел регулировки был 30В, выходит, ставить еще последовательно 2 стабилитрона? Диоды у меня как раз есть КД202К.
По вашей схеме: можно ли заменить VT1 на КТ805, а VT2 - на КТ846Б?
 Вт, 09.10.2012, 14:24 | Сообщение # 5        

MAESTRO

^

 Активность: 5564   

Можно, всё правильно.
 Вт, 09.10.2012, 14:34 | Сообщение # 6        

Вячеславчик_96

Пользователи

 Активность: 20   

MAESTRO, спасибо большое, помогли! Еще назрело: какую защиту от КЗ присобачить можно?
 Вт, 09.10.2012, 14:40 | Сообщение # 7        

MAESTRO

^

 Активность: 5564   

На сайте где-то была простая схема на 2-х транзисторах...
 Чт, 11.10.2012, 22:21 | Сообщение # 8        

Вячеславчик_96

Пользователи

 Активность: 20   

MAESTRO, ладно, с этим потом!

Добавлено (11.10.2012, 22:11)
---------------------------------------------
MAESTRO, спаял БП по вашей схеме, VT1 - КТ805, VT2 - КТ846Б, 2 стабилитрона Д814 последовательно. Реостат выставил в положение максимального напряжения, в нагрузку включил компьютерный куллер. Включил в сеть - все прекрасно заработало, начал уменьшать напряжение, как вдруг ЗАГОРЕЛСЯ реостат! В чем проблема?? Моя догадка такова: в схеме опечатка, реостат не на 10кОм, а на 1-3кОм. Питал от трансформатора ТС-250-2М с обмотки на 18В. Поясните, в чем причина возгорания реостата, если не прав, поправьте, заранее спасибо!

Добавлено (11.10.2012, 22:21)
---------------------------------------------
P.S. Питал не напрямую от обмотки трансформатора, а через мост, не сочтите за дурака!

 Пт, 12.10.2012, 12:05 | Сообщение # 9        

-igRoman-

Друзья

 Активность: 1198   

Quote (Вячеславчик_96)
Моя догадка такова: в схеме опечатка, реостат не на 10кОм, а на 1-3кОм.

Догадка не верная
Когда ты выкрутил на минимум, база транзистора непосредственно села на минус.
Разберешься дальше сам?
 Пт, 12.10.2012, 15:01 | Сообщение # 10        

Вячеславчик_96

Пользователи

 Активность: 20   

-igRoman-, поясните! Можно ли как то избавиться от этой проблемы??
  • Страница 1 из 3
  • 1
  • 2
  • 3
  • »
Поиск:

Внимание! Форум переехал на Tehnodium.ru




© Форум по электронике Мобильная версия