ФОРУМ ПО ЭЛЕКТРОНИКЕ



Архив - только для чтения
Ламповые усилители
 Сб, 04.06.2011, 00:25 | Сообщение # 191        

MAESTRO

^

 Активность: 5564   

Рад был помочь!
 Вс, 05.06.2011, 22:21 | Сообщение # 192        

kabachok1994

Пользователи

 Активность: 193   

Здравствуйте маэстро! Ну что мой поход на радиорынок не принёс желаемых результатов искал ТАНы, пары вообще не нашёл, а предлагали ТАН 57 больше чем за 10 у.е., КИНАПовский выходной за 13 а если говорят пару искать ещё дороже будет так это такой потёртый что аж....Поехал к товарищу так он подогнал лампы 6п3с, 6н1п и такие же только ЕВешные, панельки и обещал помочь с трансами ТАН55 2 шт. за 13 у.е. А теперь вопрос как правильно организовать питание на ТС180 по обмоткам получается макс.218в если можно то схемку, возможно заменить 6н23п на 6н1п или искать те что вы рекомендуете, и хотел притулить 6е1п видел здесь схему но она же на моноблок, а как будет на стерео.

поправил kabachok1994 - Вс, 05.06.2011, 22:26
 Вс, 05.06.2011, 22:28 | Сообщение # 193        

MAESTRO

^

 Активность: 5564   

ЕВ - это хорошо. Значит с улучшенными характеристиками (для военки). 6н23п на 6н1п, 6н2п меняется без проблем, переделка не нужна. 6п3с требуют минимум 350В, поэтому в случае с ТС180 надо выпрямитель делать с удвоением. Для более слабых 6п14п и аналогичных хватит и 220В.
 Вс, 05.06.2011, 22:35 | Сообщение # 194        

kabachok1994

Пользователи

 Активность: 193   

А как это с удвоением или ТСА270 прикручивать? И как быть с 6е1п?
 Вс, 05.06.2011, 23:05 | Сообщение # 195        

MAESTRO

^

 Активность: 5564   

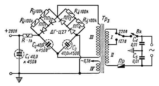
Вот как по этим схемам - два диода и два конденсатора электролита.





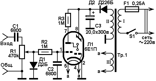
При чём тут 6е1п?
Прикрепления: 5103194.gif (11.2 Kb) · 1426891.gif (12.4 Kb)
 Вс, 05.06.2011, 23:24 | Сообщение # 196        

kabachok1994

Пользователи

 Активность: 193   

хотел притулить 6е1п видел здесь схему но она же на моноблок, а как будет на стерео.
 Вс, 05.06.2011, 23:29 | Сообщение # 197        

MAESTRO

^

 Активность: 5564   

Сам имею несколько штук таких индикаторов - но до схемы руки не дошли...



Прикрепления: 9323543.jpg (20.0 Kb) · 0149689.gif (6.5 Kb)
 Ср, 15.06.2011, 12:22 | Сообщение # 198        

kabachok1994

Пользователи

 Активность: 193   

Спасибо! Упрусь в "стену" "постучусь" к Вам снова.

Добавлено (06.06.2011, 21:33)
---------------------------------------------
Здравствуйте Маэстро! Предлагают трансы на выход ТА62, пойдут?

Добавлено (08.06.2011, 18:51)
---------------------------------------------
Здравствуйте Маэстро! Я так понял что ТА62 не пойдут. Подскажите
1.после удвоителя напряжения питание сразу подаётся на схему без каких либо фильтров?
2. какой можно поставить дроссель из моих запасов?(прикрепления)
3. питание -42в беру с обмотки 8-7 с 7-го вывода но тут нужно поставить гасящий резистор, как в схеме стоит на 470 Ом или пересчитать если пересчитать то на какой ток что-то у меня тямы не хватает?
4. на обмотках накала стоят переменные резисторы для чего?
5. на выводе 1 на рис.2 какое мы имеем напряжение и конденсаторы с16а,в оставляем?

Добавлено (11.06.2011, 19:04)
---------------------------------------------
Здравствуйте многоуважаемый MAESTRO! Я вас достал наверное своими вопросами или у Вас есть более серьёзные дела. Назрел очередной вопрос еле достал трансы ТАНы но пару так и не нашёл 35 и 36, (вы советовали от 13 и выше) по смотрел параметры разница только в анодных напряжениях, возможно их ставить, если да то как подключить смотрел "комарова" но там речь идёт о ТН и для 6п3с ТАН73.

Добавлено (15.06.2011, 12:22)
---------------------------------------------
Здравствуйте Маэстро! Ну совсем я застрял с трансами на выход какой вы использовали?

Прикрепления: 9451732.docx (10.7 Kb)


поправил kabachok1994 - Вс, 12.06.2011, 11:21
 Вт, 21.06.2011, 14:19 | Сообщение # 199        

pmp

Пользователи

 Активность: 2   

Здравствуйте Маестро, есть транс тсш170-3 хочу его поставить на питание в усилке Black Angel,ТС-180-2 я так понял можно использовать как выходной, танов немогу найти есть еще тв3-1-9, твк-110-л2, тв-3ш, и дроссель др2,3-0,21ll2. подскажите что с этим можно сделать.
 Пт, 24.06.2011, 21:06 | Сообщение # 200        

dead

Пользователи

 Активность: 5   

Доброго времени суток.Я с горем попалам собрал http://elwo.ru/publ/maestro_lampovyj_usilitel/1-1-0-43 cool . но усилок получился какойто тихий и при этом трещит как не знаю что. что мне следует передилать или дополнительно впаять?и вообще как он по сравнению с http://elwo.ru/publ/lampovyj_usilitel_moshhnosti/1-1-0-371??? зарание спасибо.
Поиск:

Внимание! Форум переехал на Tehnodium.ru




© Форум по электронике Мобильная версия